Paletti luminosi

TULA Paletto

Effetto della luce

Il paletto luminoso elegante per l’illuminazione esterna pubblica e privata 

Il bollard TULA valorizza giardini e aree pedonali con le sue linee eleganti e l’illuminazione diffusa ed estremamente gradevole, totalmente priva di abbagliamento e inquinamento luminoso, generata dall’ottica radiale diffondente. 

  • Design raffinato, che aggiunge un tocco di eleganza a contesti residenziali e urbani
  • Elevato grado di resistenza
  • Versioni: la gamma TULA comprende anche la versione a parete
  • Applicazioni: soluzione illuminotecnica ideale per le aree urbane più eleganti, per l'illuminazione del giardino, di ville, zone di passaggio e spazi esterni di pregio.
performance

Versioni


CCT


Colore


Controllo


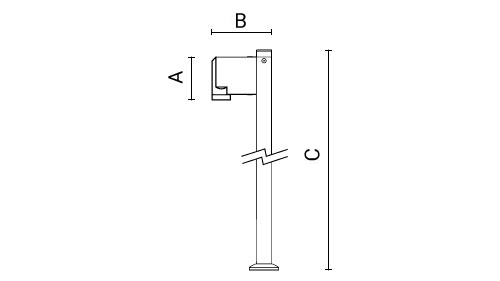
Codice Ottica Watt Lumen CCT CRI Controllo A B C
0867005P-840-16 radiale 10W 525lm 4000K 80 PC 117mm 163mm 600mm
0867006P-840-16 radiale 10W 525lm 4000K 80 PC 117mm 163mm 900mm

Altre versioni